在核心团队出事前,中基协曾有提示,公司信息报送异常,异常原因为:未按要求进行产品更新,或重大事项更新累计2次及以上。
《科创板日报》(记者 陈美)讯,近日,深圳前海巨漳资本突发噩讯。
公司和深圳前海巨漳财富给投资人发出一封函,称公司的两位实控人林某、古某,因意外事件不幸导致一死一重伤。
在致函中,前海巨漳资本称,由于公司所有资金往来,均由法定代表人林女士负责(已不幸去世),目前该公司所有投资业务处于暂时停滞状态(资金募集、分红发放、产品赎回均已暂停)。
致函称,截至目前,公安经济侦查部门及刑事调查部门已正式介入调查,公司正全力配合相关调查事项,请投资者耐心等待,会在获取进一步消息后及时告知。
诚信信息已报送异常
突如其来的“致函”,让投资人一头雾水。
《科创板日报》记者查询发现,由林某、古某组建的深圳前海巨漳资本,成立于2015年。
在核心团队出事前,中基协曾有提示,公司信息报送异常,异常原因为:未按要求进行产品更新,或重大事项更新累计2次及以上。而该信息为机构诚信信息。

成立后,深圳前海巨漳资本主要从事私募股权投资,系创业投资基金管理人,注册资本与实缴资本均为5000万元。全职员工人数为5人,并且全部取得基金从业资格。
目前,前海巨漳资本官网也无法打开。但在昔日介绍中,前海巨漳资本称,公司专注于上市公司IPO、再融资(定增配股)、并购重组等项目投资,拥有一支国际化资深投资团队。
成员由国内外银行、证券、审计、法律等行业精英组成,拥有10年以上的国际市场投资经验,在美国、日本、台湾、香港、中国大陆等市场投资多年,谙熟各地市场特点及规律,具有高瞻远瞩的国际视野、丰富的渠道资源与一级二级市场联动运作能力。
结合上述信息,记者发现,林淑青从1993年8月开始,进入证券业。最开始,在群益证券管理部担任证券交易员;2001年,于香港国泰君安证券做投资咨询顾问,之后去光大证券,担任同一职位。
但仅做了4年,就成为自由职业者。5年后,也就是2015年,成立上海巨漳投资管理有限公司;接近着,成为深圳前海巨漳资本管理有限公司的法定代表人,董事长。

在出资人信息上,深圳前海巨漳资本由上海巨漳投资管理有限公司控股,持股比例为95%。如此,林淑青是前海巨漳资本的掌控人。
这一点信息,与前海巨漳资本致函中说的,“所有资金往来,均由法定代表人林女士负责”相对应。
其余5%股权由陆婷艳持有。查询发现,陆婷艳为前海巨漳资本合规风控、信息填报负责人。
3年投资53家“名字相似”公司
在中基协上,尽管前海巨漳资本信息报送异常,但出事前依然管理了26只基金。
《科创板日报》记者在天眼查上看到,这26只基金分别是深圳市巨漳永睿一号投资企业(有限合伙),到二十号;此外,还有深圳龙镁农业科技投资企业(有限合伙)、深圳正嘉教育科技投资企业(有限合伙)等,且注册资本均为5000万元。
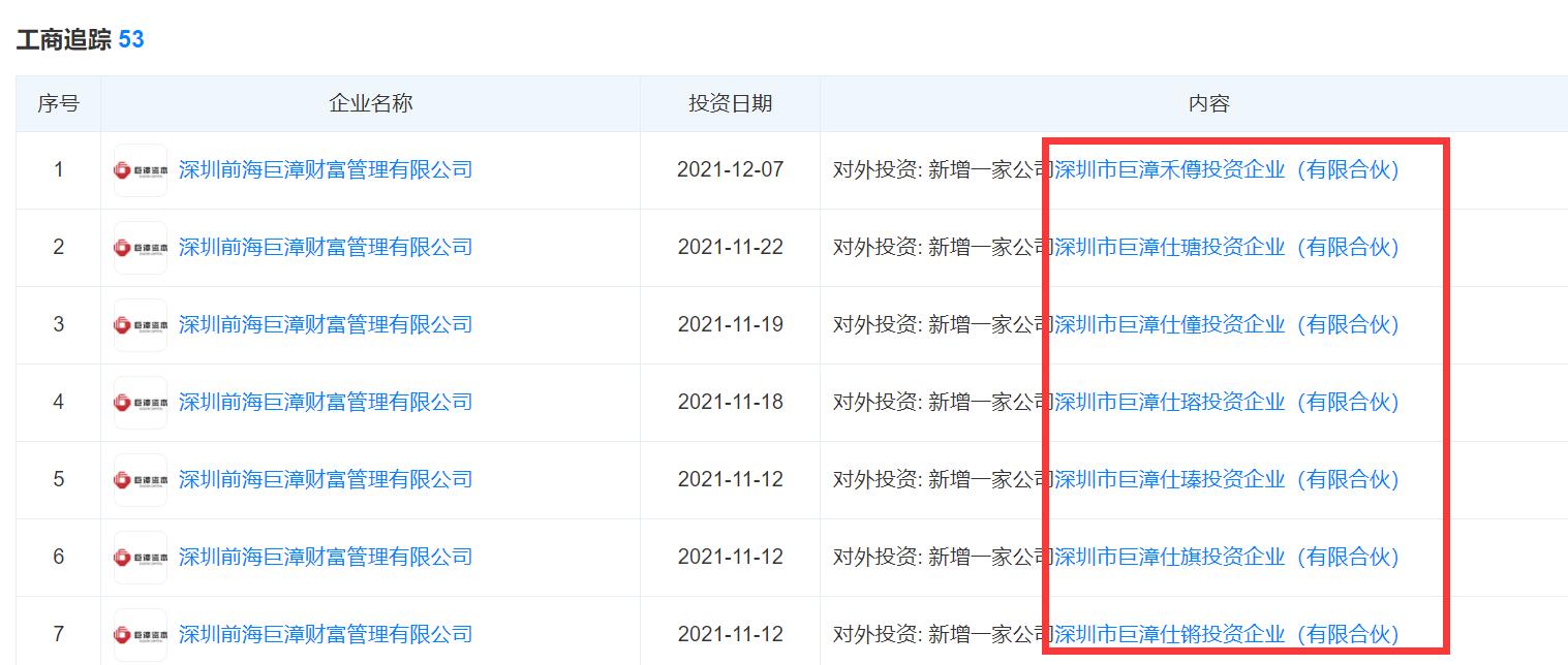
在对外投资方面,工商追踪显示,2021年12月新增投资深圳市巨漳禾僔投资企业(有限合伙);11月新增9家公司: 深圳市巨漳仕瑭投资企业(有限合伙)、深圳市巨漳仕瑢投资企业(有限合伙)、深圳市巨漳仕瑧投资企业(有限合伙)……

9家公司名字极为雷同,均一字之差,为“巨漳仕X” 投资企业(有限合伙),并且持股比例在20%左右。
值得注意的是,前海巨漳资本投资“名字雷同”公司,这波操作始于2019年8月。截止目前,已投资了53家类似公司。
这53家公司具体有什么用途,并不得而知。
但在对外介绍中,巨漳资本称,成立以来成功投资阿里巴巴、途牛、F-英利、训修实业、中国邮储、阅文集团等IPO新股项目,并收到良好稳定的投资收益。
