尽管曾获曾获美团、红杉多轮押注,但CEO张涛坦言 ,商用机器人行业还存在一个承待解决的灵魂问题,那就是全行业几乎都未实现盈利。
财联社|新消费日报7月6日讯(记者 唐植潇),普渡科技陷入了“裁员风波”。
日前,普渡科技CEO张涛发布全员信,宣布了新一轮的裁员计划。这封全员信中,张涛承认“对公司业务与团队做一次瘦身”。
张涛坦言 ,商用机器人行业还存在一个承待解决的灵魂问题,那就是全行业几乎都未实现盈利。“靠经营主业赚钱,是商业的本质,因此从商业本质的角度讲,截至目前整个商用机器人行业都还未达及格线。”
这已经不是普渡科技今年传出的第一次裁员消息了。
实际上,自2022年初,普渡科技屡屡受困于裁员传闻。彼时传言的裁员比例是30%,波及范围千人。
关于此次普渡科技的裁员,普渡离职员工张强向新消费日报透露,波及20多个城市,目前已离开800多人,预计被裁总人数超1000,占公司总人数三分之一。
另有普渡科技离职的前员工李楠对新消费日报记者表示,导致普渡科技连续多轮裁员的原因在于普渡科技多轮融资膨胀速度过快,管理层“跑马圈地”式扩张造成连锁反应,导致问题集中爆发。
天眼查APP显示,深圳市普渡科技有限公司成立于2016年1月,法定代表人为张涛,注册资本约为219万人民币。
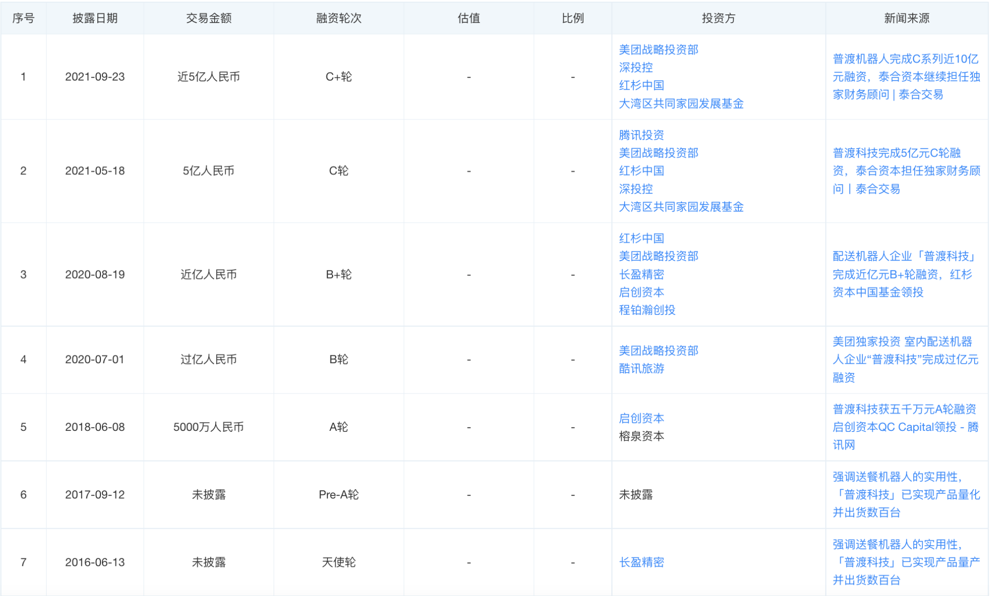
目前,普渡科技已进行7轮融资,融资总额超10亿元人民币,投资方包括腾讯、红杉、美团等等。普渡科技的融资数据显示,2016年-2018年间保持了一年一次融资的节奏。
2020年疫情爆发后,服务型机器人受热捧,普渡科技也在14个月时间达成了4轮融资,其中红杉中国参与了3轮,美团更是连投了4轮。

在资本的加持下,普渡科技日渐“膨胀”了。
据张强透露,公司高管高估了团队管理能力,开始 “跑马圈地”,将销售团队一路从一线城市下沉到三线城市。团队一度从从2020年7月的300人,迅速膨胀到2021年11月的3000人。
“公司里也来了很多‘空降兵’,很多高管都是不属于这个行业的,这些高管看上去title挺高,但因为不了解这一行业,就会出现瞎乱指挥,和拉帮结派的情况。”李楠表示。
实际上,2021年12月,某职言平台上就已经出现普渡机器人裁员的相关话题,普渡被曝出“批量裁员”、“毁约应届生”等现象。该轮裁员潮波及20多个城市,预计总人数超过1000人,占公司总规模的三分之一。
“膨胀速度、实际增长、市场预期、资本情况、管理问题等等,全都撞在一起了,”张强对记者表示,“不同类型的机器人落地场景不一样,所涉及到的方案调整和优化是不同的。想要通过资金在一年内解决掉,并且实现业绩天翻地覆的变化,其实不可能。”
据某职言平台网友爆料经历了6月、7月两波裁员之后,普渡科技将员工规模降至500人左右。
“在资本的加持下,商用机器人行业的公司的估值也水涨船高,出现了多家估值介于10亿美金-20亿美金的独角兽公司。”张涛坦言。
商用机器人行业自2016年左右萌芽,经历了2016-2019年的PMF验证,至2020年之后迎来了比较快速的发展。
正因此,张涛认为,今年会出现近10家销售额介于1亿-10亿元的第一梯队公司,和销售额介于2000万-1亿元的数十家第二梯队公司,整个行业的销售额近年内获得了年均数倍的高增长。
根据中商产业研究院数据,2016年,全球服务机器人市场规模仅54亿美元,而这一数字在2020年的翻倍至110.3亿美元,年均复合增长率达19.9%。
具体到中国市场,服务机器人规模由2016年的9.4亿美元增长至2020年的29.4亿美元,年均复合增长率为32.9%,显著高于全球。2021年全年机器人公司发生投融资事件220起,总金额约226.05亿元。

另据天眼查不完全统计,全国目前共有超40万家机器人相关企业。近年来,相关企业逐年增加。2021年新增超11万家,达历年最多,增幅达50%。
在资金行情好时,商用机器人公司盈利能力弱、必须依靠外部输血的问题被掩盖。但是自去年底以来,资金市场行情收紧,在多重因素的共同作用下,今年国内同一赛道的股权融资笔数和金额呈新岸式下跌。
“从商业本质的角度讲,截至目前整个商用机器人行业都还未达及格线。”在全员信中,张涛认为商用机器人行业还存在一个承待解决的灵魂问题,那就是全行业几乎都未实现盈利。而一旦资本市场继续收紧,尚不能依靠主营业务盈利的普渡科技们无法承受资金链紧张带来的一系列问题。
不过,据新消费日报多方了解,普渡科技所的资金问题出自于自身:一方面需要支付大规模裁员的补偿金;另一方面,还需要应对各类供应商欠款及投资人的压力。
以解决餐饮送餐痛点的普渡科技难终究是“渡”己。
(应受访人要求,张强、李楠系化名)
以下系普渡科技CEO张涛发布的全员信内容:

