嘉化能源于2016年4月12日披露了《关于股东减持计划的提示性公告》,公司原股东北京嘉俪九鼎投资中心、苏州泰合金鼎九鼎投资中心、苏州嘉鹏九鼎投资中心等8家九鼎系公司因自身资金需求计划通过宗交易、集中竞价、协议转让方式减持公司股份合计164,942,747股,占公司总股本的12.63%。


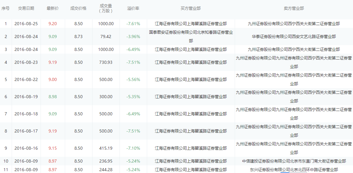
根据大宗交易数据得知,江海证券有限公司上海瞿溪路证券营业部成为买方主力,据此测算,该营业部从7月13日以来吃货7239.45万股,占流通盘的12.5%,成本价位8.5。
从基本面来看,日前,公司发布半年报,报告期内实现营业收入 20.17 亿,同比增长 28%;归母净利 3.93 亿,同比增长 25.4%;归母扣非净利 3.92 亿,同比增长 44%。
脂肪醇供给持续偏紧价格大幅上涨
受原料价格上涨和 G20 期间嘉化和恒翔合计 15.5 万吨装置停产,近期脂肪醇 C12- 14 价格大幅上涨至 17500 元,价差再次扩大。嘉化装置将在 G20 后复产,预计 复产后脂肪醇仍将维持供给偏紧态势,公司脂肪醇酸业务盈利有望持续改善。
新项目推进顺利 公司上半年热电联产机组扩建项目
报告期内借壳募投热电联产机组扩建项目,2 台 450t/h 高温高压循环流化床锅炉和 1 台 45 兆瓦高温高压抽背式汽轮发电机组已完成安装;4,000 吨/年邻对位衍生产 品(BA)技改项目建设进入安装阶段;16 万吨多品种脂肪醇(酸)产品项目油酸车 间厂房已完工,正进行现场安装施工;烟气超低排放改造项目按计划进行;与巴 斯夫合作的电子级硫酸项目计划投资 1,500 万元,报告期末完成累计投资 1,220 万元。公司新项目进展顺利,邻对位和脂肪醇(酸)新项目预计下半年能启动试生 产,未来产能陆续释放有望推动业绩持续增长。
公司兼具成长性与周期弹性,募投蒸汽、脂肪醇酸、邻对位、电子级硫酸等新项 目产能陆续释放将使公司业绩持续增长。独特的循环经济成本优势又使氯碱、脂 肪醇酸等即使处在周期底部也有高于同行的盈利能力,当前煤炭、脂肪醇酸、氯 碱、硫酸等周期品仍处在历史底部,价格上涨有利于提高公司盈利能力。此外, 美福码头吞吐量和运行效率仍有提升空间,公司在半年报中提出将择机通过技术 引进、参股合资及收购并购等手段加快完善公司在新能源的战略布局,新能源项 目将带来新的盈利增长点。公司过去五年业绩复合增长率 24%,未来几年仍有望 保持高增长,当前估值极具投资价值。加之九鼎通过大宗交易转让公司股份,筹码完成交接,未来行情有望启动。
