君实生物、荣泰健康通过惠每健康(天津)股权投资基金合伙企业(有限合伙)间接持有博腾生物股份。
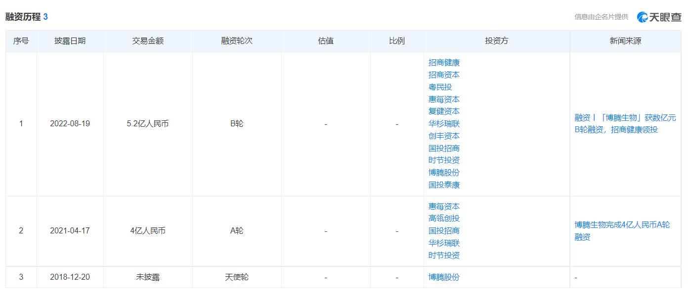
近日,苏州博腾生物制药有限公司宣布完成B轮融资,融资总额达5.2亿人民币。本轮融资由招商健康领投,招商资本、招商证券投资、复健资本、粤民投基金、国投泰康信托联合投资,原股东博腾股份、国投招商、惠每资本、华杉瑞联及时节创投持续加码。据了解,本轮融资将进一步推进博腾生物的全球化布局,加快商业化生产基地的建设及运营,加速端到端的基因与细胞治疗CDMO平台的完善。

公开信息显示,苏州博腾生物制药有限公司成立于2018 年12月,立足于苏州工业园区,以上市公司-重庆博腾制药科技股份有限公司(股票代码:300363)为依托,搭建了质粒、细胞治疗、基因治疗、溶瘤病毒、核酸治疗及活菌疗法等CDMO平台,提供从建库,工艺方法及分析方法开发,cGMP生产到制剂灌装的端到端服务,贯穿早期研究、研究者发起的临床、新药临床试验申请(IND)、注册临床试验到商业化生产等不同药物阶段,帮助客户加快药物研发与上市进程。
据天眼查股权信息显示,除去博腾股份,博腾生物背后还有两家上市公司身影。君实生物、荣泰健康通过惠每健康(天津)股权投资基金合伙企业(有限合伙)间接持有博腾生物股份。

