关于我们
网站声明
联系方式
用户反馈
网站地图
帮助
首页
电报
话题
盯盘
VIP
FM
投研
下载
全部
加红
公司
看盘
港美股
基金
提醒
2023年06月08日 16:27:06
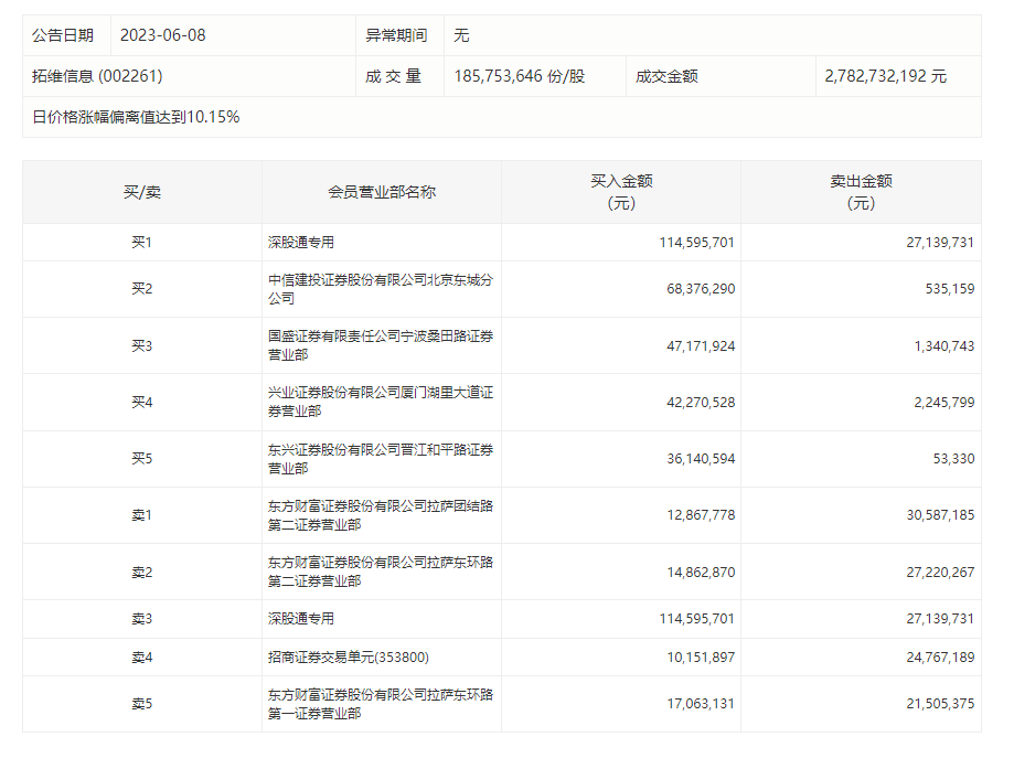
龙虎榜|拓维信息今日涨停 北向资金净买入8746万元
财联社6月8日电,拓维信息今日涨停,深股通买入1.15亿元并卖出2714万元,中信建投北京东城分公司净买入6784万元,国盛证券宁波桑田路净买入4583万元。
关联个股
拓维信息
+1.69%
关联文章
【机构龙虎榜解读】服务器+边缘计算+VR,服务器已应用于智慧政务系统,与中国电信联合发布边缘轻量级算力终端,旗下企业为VR领域优质综合服务商,这家公司获机构逾2亿净买入
收藏
阅336.17W
我要评论
反馈意见
图片
欢迎您发表有价值的评论,发布广告和不和谐的评论都将会被删除,您的账号将禁止评论。
发表评论
关联话题
龙虎榜
4.99W 人关注