①美国FDA本周宣布,为缓解严重短缺问题,将寻找新的甲氨蝶呤供应商进入美国市场; ②FDA上周刚宣布,正在为化疗药物顺铂和卡铂寻找额外的供应商,此前已经紧急批准中国药企的顺铂注射剂进入美国市场。
财联社6月11日讯(编辑 史正丞)去年还在为找奶粉发愁的美国食品药品监督管理局(简称FDA),现在又进入了紧急寻找癌症药物的状态。
FDA在本周五宣布,为了缓解甲氨蝶呤(methotrexate)的短缺,正在寻找新的供应商进入美国市场。甲氨蝶呤是一种常见的化疗药物和免疫抑制剂,可以治疗多类癌症,包括儿童急性淋巴细胞白血病、乳腺癌、肺癌、骨癌和某些类型的头颈癌。
FDA的发言人表示,这种药物从3月开始就已经出现短缺,现在该机构正在寻找临时的进口选项。
FDA近期频频“全球找药”
事实上,这已经是近期FDA近两周来第二次公开发声寻找癌症药物供应商。上周FDA就曾表示,正在为两种化疗药物——顺铂(Cisplatin)和卡铂 (Carboplatin)寻找额外的供应商。
根据当地媒体报道,许多美国的医院都出现了药物短缺的状况,数十万名患者不得不在全国范围内寻找可用的药物,或者延后治疗的周期。许多医院已经开始通过评估“患者康复的可能性”来分配药物。根据统计,在FDA最新公布的“紧缺药物名录”中,有130多款药物上榜,其中14种是癌症治疗药物。
美国临床肿瘤学会首席医药官Julie Gralow博士介绍称,最近的药物短缺与供应顺铂材料的印度工厂因质量问题停产有关。这使得替代药品卡铂也遭遇了供应困境。
当面临短缺时,FDA可以破例特批产品进入美国市场销售,就像此前他们向更多婴幼儿配方奶粉生产商开放美国市场一样。
事实上,在癌症药物方面,FDA已经特批中国药企齐鲁制药的顺铂注射液进入美国市场。根据FDA官网披露的文件显示,齐鲁制药告知美国监管,考虑到美国现在急缺药物,发运的药物都是中文包装和商标,只能通过贴纸提示一些重要信息。

一般而言,对于新供应商进入市场,FDA会采取一系列测试和检查程序。在回应有关特批顺铂注射液进入美国市场的事宜时,该机构表示,后续可能会对进口药物进行抽样和测试,也有可能会对设施进行检查。
与顺铂不同,在本周FDA官宣之前,并没有披露曾寻找额外甲氨蝶呤药品供应商的事宜。
根据美国卫生系统药剂师协会的数据,目前甲氨蝶呤注射液的供应商中,出现缺货或延迟交付的包括辉瑞、梯瓦制药、英国Hikma、德国费森尤斯卡比等药企。
不过甲氨蝶呤注射液的短缺能否构成对上市公司,特别是国内上市公司的利好仍存在较大的不确定性。
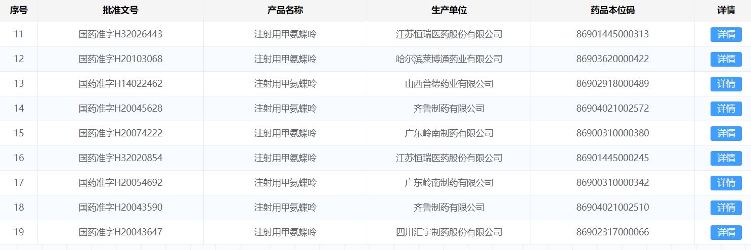
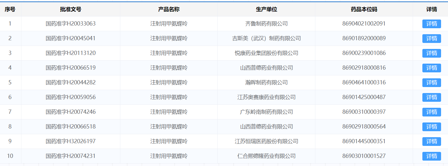
根据国家药监局官网显示,国内一共有19个“注射用甲氨蝶呤”的批准文号,涉及多家上市公司。值得注意的是,甲氨蝶呤早在2020年底就已经进入国家卫健委的国家短缺药品清单中。同时在2022年7月工信部、国家卫健委等四部门下发的“短缺药品监测品种及生产企业”名录中,也包括了甲氨蝶呤注射剂和原料药的生产企业。

