① 公司为城投二级子公司,此前未有债券发行; ② 直接股东存量4只自贸区债。
财联社7月6日讯(编辑 张伟)据上交所披露,近日绍兴袍江新农村建设投资有限公司2021年非公开发行绿色公司债券项目审核获终止,据悉,该只品种为私募,拟发行金额20亿元,发行人为绍兴袍江新农村建设投资有限公司,这是一个月内该公司绿债项目第二次被终止。6月8日,深交所披露,绍兴袍江新农村建设投资有限公司2023年非公开发行绿色公司债券的项目状态更新为“终止”,拟发行金额20亿元,品种为私募。

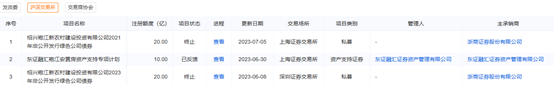
(信息来源:上交所公司债券项目信息平台)
企业预警通数据显示,绍兴袍江新农村建设投资有限公司为城投子公司,此前未有债券发行。公司100%控股股东是绍兴袍江创业建设发展有限公司,实控人绍兴袍江经济技术开发区管理委员会。而绍兴袍江创业建设发展有限公司属于绍兴袍江经济技术开发区投资发展集团有限公司的一级子公司,据了解,绍兴袍江经济技术开发区投资发展集团有限公司是袍江开发区唯一的基础设施建设运营和土地一级开发主体,主要承担袍江开发区的土地拆迁整理及出让和基础设施建设等任务。

(数据来源:企业预警通)
不过,企业预警通数据显示,袍江新农村建设公司此前未有债券发行,注册进程中2只私募绿色公司债已被终止,合计规模40亿元,尚有一只10亿元ABS已获反馈,该只ABS计划管理人为东证融汇证券资产管理有限公司。

(数据来源:企业预警通,财联社整理)
作为袍江新农村的控股股东,绍兴袍江创业建设发展有限公司当前拥有4只存量债,合计规模20.87亿元,且4只存量债券均为上海自贸区离岸债。
今年以来,城投自贸区债发行火热,相比境内城投债,自贸区债券在宽松度方面拥有一定优势。据媒体报道,面对境内以及离岸美元债市场融资环境偏紧,自贸区债券在宽松度以及融资成本方面,对于城投公司仍较为友好,若监管政策没有明显趋紧,城投“借道”自贸区债的势头还将延续。
绿色债同样也是城投拓展融资渠道的途径之一。广发证券指出,发行人选择绿色债的动力主要有三:第一,各地多采取财政补贴、贴息的优惠政策;第二,审批开辟绿色通道,“即报即审”;第三,项目认定为绿色后,可以作为城投拓展融资渠道的途径。据统计,2021年以来64个区县城投发行绿色信用债,其中26个区县城投发行绿色债用途广于非绿债。
值得一提的是,根据2022年7月绿色债券标准委员会发布的《中国绿色债券原则》,明确绿色债券的募集资金需100%用于绿色项目,且募集资金应直接用于绿色项目的建设、运营、收购、补充项目配套营运资金或偿还绿色项目的有息债务。
