关于我们
网站声明
联系方式
用户反馈
网站地图
帮助
首页
电报
话题
盯盘
VIP
FM
投研
下载
全部
加红
公司
看盘
港美股
基金
提醒
2023年08月09日 16:36:34
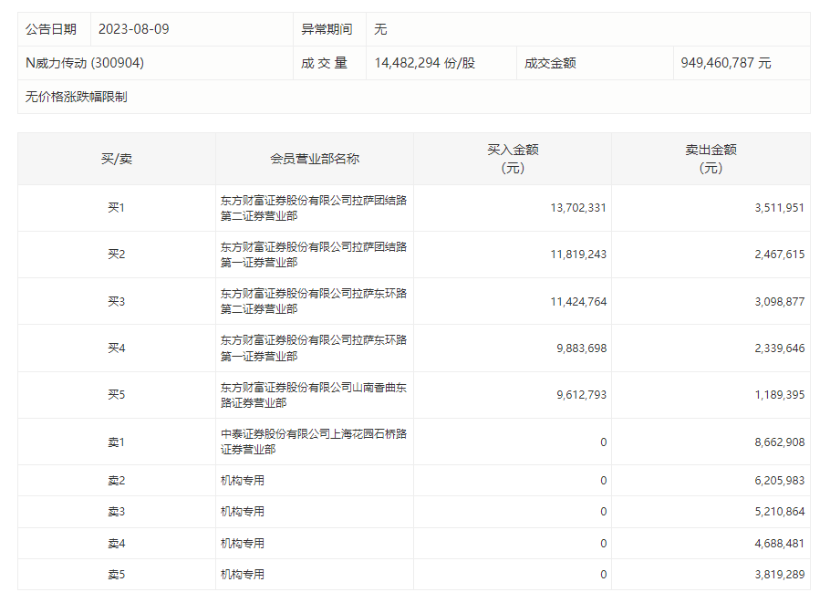
龙虎榜|威力传动大涨261.48% 机构卖出“散户大本营”买入
财联社8月9日电,新股威力传动今日涨261.48%,成交额9.49亿元,换手率84.39%。龙虎榜数据显示,4家机构合计净卖出1992.46万元,买入前四席位均为东方财富拉萨证券营业部。
关联个股
威力传动
-6.58%
收藏
阅362.64W
我要评论
反馈意见
图片
欢迎您发表有价值的评论,发布广告和不和谐的评论都将会被删除,您的账号将禁止评论。
发表评论
关联话题
龙虎榜
5.32W 人关注
关于我们
|
网站声明
|
联系方式
|
用户反馈
|
网站地图
|
友情链接
|
举报电话:021-54679377转617
举报邮箱:editor@cls.cn
财联社
©2018-2026
上海界面财联社科技股份有限公司 版权所有
沪ICP备14040942号-9
沪公网安备31010402006047号
互联网新闻信息服务许可证:31120170007
沪金信备 [2021] 2号