①2016年前后,丰盛控股开始大肆投资并购,一口气完成了20宗收购、涉资金额达69亿元。而旅游赛道则是其布局的重点。 ②景域集团董事长、驴妈妈创始人洪清华在接受采访时曾表示,“3年疫情确实对文旅行业影响很大,但我们文旅人没有趴下,而是蹲下。蹲下目的就是为了跳得更高。”
财联社2月1日讯(记者 徐赐豪 高梦阳)驴妈妈旅游网或已濒临绝境。
日前,新消费日报记者发现,驴妈妈旅游网的官网、APP、小程序等已不能正常使用,微信公众号已停更半年。而且,该公司的母公司上海飞驴湾文化传播股份有限公司已经被列入失信被执行人名单,限制高消费。同时,有报道称,“目前驴妈妈绝大部分员工已经解散。无法预订产品,仅剩数名员工。”
据天眼查相关的工商资料,驴妈妈旅游网关联公司上海飞驴湾文化传播股份有限公司涉司法案件454件,其中作为被告340件,涉案金额达到6.04亿元。而浙商银行在2023年12月的一份公告显示,法院判决武汉法斯克能源科技向南京分行支付转让价款约31.57亿元及相应违约金,其中涉及到驴妈妈和洪清华。
“三年疫情给文旅行业、企业造成重大影响。”驴妈妈相关人士回应新消费日报记者称,公司合作伙伴和有的公司拖欠飞驴湾20多亿款项,一时难以收回,再加上部分银行抽贷、断贷或变相收贷飞驴湾5亿多元,造成公司现金流动困难。同时,由于部分银行起诉公司,并将账号和域名封停,对企业运营造成影响。“我们一直在积极与各方沟通方案,力求尽快解决问题。”
记者发现,目前驴妈妈线下门店属各地子公司,仍在独立运营。而深陷31.57亿元官司的洪清华在日前还参与了新成立的上海掼蛋运动协会,并担任协会第一家理事会副会长。

但驴妈妈却再没有了昔日风光。
驴妈妈走到悬崖边:账号暂停运营,母公司成老赖
公开资料显示,驴妈妈旅游网创立于2008年,是中国知名综合性旅游网站、自助游领军品牌、中国景区门票在线预订模式的开创者,提供景区门票、度假酒店、周边游、商旅定制游、国内游、出境游、大交通等预订服务。
此前,景域集团董事长、驴妈妈创始人洪清华在接受采访时曾表示,“3年疫情确实对文旅行业影响很大,但我们文旅人没有趴下,而是蹲下。蹲下目的就是为了跳得更高。”
同时,洪清华称文旅从业者要当长期主义者,切不能有“三年亏损,一年挣回来”的心态。他引用日本管理学大师稻盛和夫的话说,长期主义者就要坚持三件事:乐观地设想、悲观地计划、坚定地执行。
但种种迹象表明,驴妈妈之所以走到了悬崖边,并不能只怪疫情这样的不确定因素。
曾在驴妈妈供职多年的李伟(化名)告诉新消费日报记者,驴妈妈的运营早就出了问题。
“三年前驴妈妈裁员就很厉害了,我赶紧跳槽了”。多位驴妈妈前员工表示,与李伟一样,早在疫情之初的大裁员中离开。
“驴妈妈应该在10年前,性质就与携程、飞猪、同程等OTA不一样了”。张强(化名)曾做过驴妈妈的渠道商。他对记者表示,驴妈妈其实更像一个批发商的角色。
张强告诉记者,与其他OTA补贴用户换取流量的方式不同的是,驴妈妈更喜欢补贴渠道。“举个例子,驴妈妈以每张门票100元的价格包了长隆欢乐世界的门票,然后自己补贴两三块钱,再批发给其他旅行社或者票务代理,而代理则会帮他把那个量、流水做起来。”
“对于消费者来说,他不知道是从驴妈妈上买的,但是驴妈妈通过这样的模式获得了巨大的流水,这个流水做的很漂亮可以去拿给投资者看”。张强表示,驴妈妈的模式非常烧钱,一旦没有资本输血,就会暴露一系列问题
李伟对记者透露认为,虽然彼时补贴严重,但因为还有融资,还能撑着,但疫情来了以后,驴妈妈就变的很被动。
“随着携程和去哪儿网的资本联姻,在线旅游市场大局已定,排名靠后的选手就告别了高速增长、逐渐消失在媒体视野之外。”环球旅讯首席行业分析师彭涵对新消费日报记者说道。
相关数据显示,在2015年、2016年尚能在度假游市场追赶携程、同程、途牛的驴妈妈,到了2019年市场份额只有0.15%。2019年12月的市场数据显示,驴妈妈平台UV是26.25万,基本已经属于在线旅游的垫底成员。
新消费日报记者留意到,驴妈妈官网、小程序和App发现,前述平台均无法正常使用,酒店、机票等业务也无法办理,其官方公众号最后一次更新时间在2023年5月。
因“一元门票”而闻名,驴妈妈先后获70亿元融资
2008年,景域集团董事长洪清华看到了利用互联网整合旅游景区的机会,另起炉灶成立了驴妈妈旅游网,从售卖景区门票开始,逐渐延伸到交通、住宿、跟团游等旅游全品类的线上平台。
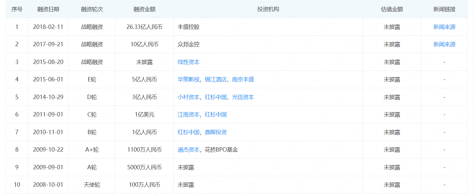
实际上,自涉足该业务后,景域集团开始大规模融资,自2008年以来累计融资金额约70亿元。锦江酒店、红杉中国、丰盛控股、小村资本、鼎辉资本等知名公司和投资基金均参与过驴妈妈的融资。

彼时驴妈妈旅游网一方面补贴C端游客,在OTA大战中发起“1元门票”活动,瞬间吸引到大量游客的注意;另一方面补贴B端同业,同业拿货只看价格,只要平台价格低,马上都来这个平台拿货,给这个平台贡献营收流水。双管齐下,景域文化短短几年时间迅速把营收从起步时的0元做到2015年的30亿元。
这期间,驴妈妈进入快速增长期。根据艾瑞咨询,2016年我国在线旅游度假市场交易规模达 926.9亿元,其中驴妈妈平台交易额79亿元,市场份额为8.2%,排在途牛、携程和同程之后位列第四。2015-2016年间,驴妈妈的业绩对比之前可谓是突飞猛进、上窜了一大截。
2015年,驴妈妈旅游网与景域集团的规划业务一起打包登陆了新三板,名为“景域文化”。
从景域文化披露的财务数据来看,驴妈妈旅游网是景域文化绝对的业绩核心,占营收比重97%以上。驴妈妈旅游网的带动下,景域文化业绩增长也十分迅猛,2013年营收为7亿元人民币,2014年13.9亿,2015年增加到31.1亿元,2016年上半年26.9亿元。
营收看起来相当的可观,但是归属于挂牌公司股东的净利润却分别为亏损4.26亿元和2.56亿元,同比增加为167.16%和92.59%。
但登陆新三板仅一年多,2017年1月3日,景域宣布向全国中小企业股份转让系统申请股票终止挂牌。对于此次退出的因素,官方说法是“因公司战略发展和下一步更深层次资本运作的需要”。
据统计,从2014年至2017年,景域文化累计亏损超过15亿元。就在2017年景域文化退市前,净资产尚余1亿多元,但后续便没有再披露财务数据。
值得一提的是,2017年后,驴妈妈再度获得两笔大额融资。分别是众邦金控的10亿元人民币与丰盛控股的26.33亿人民币。
公开报道显示,季昌群和洪清华是安徽老乡,2005年季昌群创办了南京丰盛产业控股集团有限公司。2013年季昌群接盘了港股汇多利,将丰盛控股的商业业务注入。一年以后“汇多利”改名为“丰盛控股”。
2016年前后,丰盛控股开始大肆投资并购,一口气完成了20宗收购、涉资金额达69亿元。而旅游赛道则是其布局的重点。
天眼查工商资料显示,2016年9月,南京丰盛产业控股集团等投资机构拟10亿投资景域文化。三个月后,2016年12月,景域文化向南京丰盛产业控股集团有限公司、上海小村资产管理有限公司定向增发7.2亿元。
2017年丰盛投资了另一家总部位于南京的OTA途牛,占股比例为7%。同年9月和12月,景域文化分别获得众邦产融控股和丰盛控股的10亿元和26.33亿元投资。而众邦金控由丰盛控股、卓尔集团、景域集团、大族控股集团于2016年12月16日共同发起成立。
由此可见,季昌群向老乡洪清华至少36亿元以上。随着丰盛控股的大举进军旅游业,彼时丰盛控股的市值由原来的3亿多港元变成600多亿港元,3年内暴涨200多倍;同时股价由0.5港元最高升至约4.8港元、翻了9倍。
创始人、投资人陷巨额赔偿官司 还能坚持多久
但驴妈妈与丰盛控股的“好日子”并没能坚持太久。
2018年12月,丰盛产业控股发布公告称,公司有约12.78亿元到期债券未能偿还,并可能触发5只债券总计45亿元提前还款条款涉及违约债券共11只。在疫情前,其盈利情况也是持续恶化:2018年丰盛控股归母净利润为亏损30.30亿元,2019年亏损28.4亿。
而在背后的金主丰盛控股自顾不暇之际,驴妈妈难以为继。相关工商信息显示,驴妈妈在近期官司缠身,已经被多次列入限高和失信被执行人。同时,驴妈妈创始人洪清华也陷入巨额赔偿官司。
工商资料显示,驴妈妈旅游网关联公司上海飞驴湾文化传播股份有限公司涉司法案件445件,其中作为被告325件,涉案金额达到6.04亿元,现已成为失信被执行人被执行总金额为5.4亿元,其中中原银行股份有限公司焦作分行2.49亿元、华夏银行股份有限公司上海分行1.957亿元、上海农村商业银行股份有限公司嘉定支行0.4亿元,中国工商银行股份有限公司上海市普陀支行0.3亿元、宁波银行股份有限公司上海分行0.253亿元。
“部分银行起诉公司,账号和域名已被封,对企业运营造成影响。公司一直在积极与各方沟通方案,力求尽快解决问题。”驴妈妈方面有关人士向新消费日报解释称。
值得注意的事浙商银行在2023年12月的一份公告。该公告显示,法院判决武汉法斯克能源科技向南京分行支付转让价款约31.57亿元及相应违约金,其中涉及到驴妈妈、洪清华,以及丰盛控股董事长季昌群。
据悉,2017年4月,浙商银行南京分行与浙金信托订立《浙金·天目9号单一资金信托合同》,委托其设立单一资金信托,认购“宁波梅山保税港区浙景股权投资合伙企业(有限合伙)”LP份额,信托期限36个月。
浙商银行公告说,南京分行“依约”投入信托计划资金近29.25亿元,浙金信托也依约认购了上述“浙景股权有限合伙”LP份额。
作为附加条件之一,洪清华、季昌群等三个自然人为上述信托受益权转让交易做保证担保;作为附加条件之二,洪清华将持有上海飞驴湾7.82%股权、“浙景股权有限合伙”持有上海飞驴湾43.8683%股权出质给南京分行及武汉法斯克100%集中质押于浙商银行南京分行。
不过信托受益权转让付款日届满后,相关方并未履约。按照判决书的要求,原告可以向任何一方被告索要31.57亿元,包括驴妈妈CEO洪清华。
对于驴妈妈今天的局面,彭涵表示,驴妈妈及其背后资本巨鳄的处境,正是旅游创投“火爆时代”落幕的缩影。“‘遍地是大王,短暂又辉煌’的故事,已经彻底结束了。疫情三年,只是让这些令人唏嘘的结局,浮现的稍晚了一些而已。”
