关于我们
网站声明
联系方式
用户反馈
网站地图
帮助
首页
电报
话题
盯盘
VIP
FM
投研
下载
全部
加红
公司
看盘
港美股
基金
提醒
2025年02月17日 16:36:34
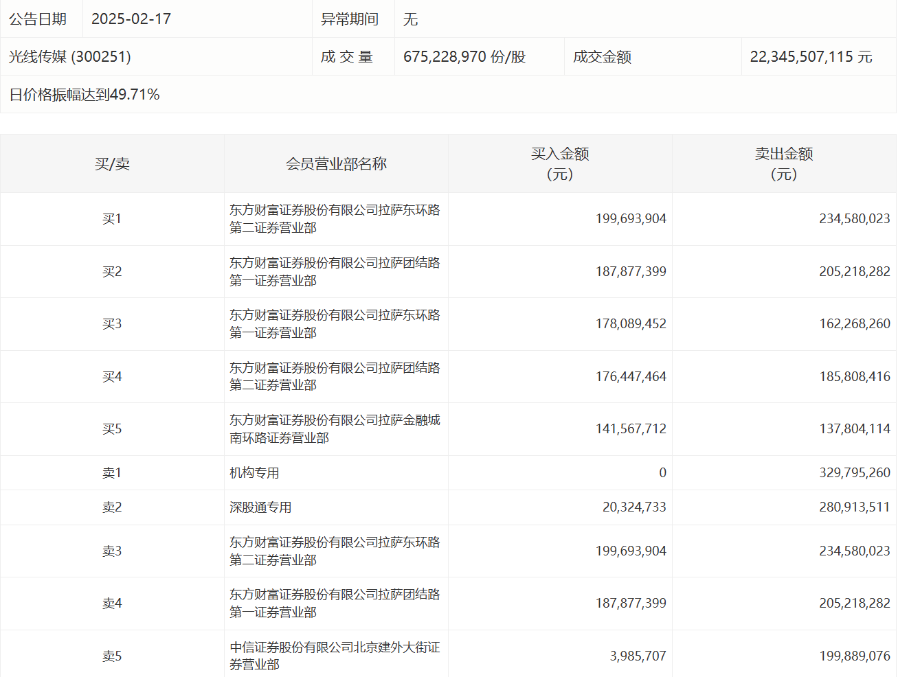
龙虎榜|光线传媒全天振幅近40% 拉萨天团包揽买方前五席
财联社2月17日电,光线传媒今日高开低走大幅收跌,全天振幅近40%,天量成交超223亿元,换手率超24%。盘后数据显示,买方五个席位均为东财活跃营业部,合计买入达8.84亿元;一机构净卖出3.3亿元,深股通净卖出2.61亿元。
关联个股
光线传媒
-1.06%
收藏
阅280.89W
我要评论
反馈意见
图片
欢迎您发表有价值的评论,发布广告和不和谐的评论都将会被删除,您的账号将禁止评论。
发表评论