①大连万达集团股份有限公司近日新增一则被执行人信息,执行标的4亿余元,执行法院为北京金融法院; ②该公司成立于1992年9月,法定代表人为王健林,注册资本10亿人民币,经营范围包括货物进出口、技术进出口、国内一般贸易等。
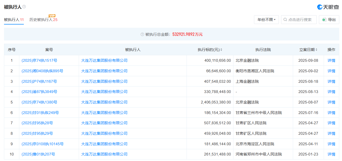
财联社9月11日讯,据天眼查数据显示,近日,大连万达集团股份有限公司新增一则被执行人信息,执行标的4亿余元,执行法院为北京金融法院。

大连万达集团股份有限公司成立于1992年9月,法定代表人为王健林,注册资本10亿人民币,经营范围包括货物进出口、技术进出口、国内一般贸易等。股东信息显示,该公司由大连合兴投资有限公司、王健林共同持股。
天眼风险信息显示,该公司现存11条被执行人信息,被执行总金额超52亿元,此外,该公司所持多家公司股权已被冻结。

