①财联社星矿数据统计显示,2025年初截至2026年2月5日,量子科技赛道,融资金额达25.16亿元,融资事件数25起; ②从2026年投融资项目来看,量子科技领域有着“数量逐渐增多、规模逐渐增大”的特点;2月共3家企业获3次融资,1月有6家企业获7次融资。
《科创板日报》2月22日讯(记者 黄修眉)除夕夜,春节晚合肥分会场《合韵满江淮》一亮相,就凭实力刷屏全网。我国著名量子科学家潘建伟院士及团队,携世界首颗量子科学实验卫星“墨子号”模型,亮相合肥分会场。

2026年开年以来,在量子科技领域,中国科学家纷纷交出让全球同行惊叹的答卷。
2月12日,《自然》期刊发表了北京大学王剑威教授、龚旗煌院士团队的重要成果:经过6年多技术攻关,他们研制出两款核心芯片,成功构建全球首个基于集成光量子芯片的大规模量子密钥分发网络,这个网络被命名为“未名量子网络”;
此前1月28日,中国科学院物理研究所科研团队在《自然》杂志发表论文,展示了在超导量子芯片实验中掌握量子系统热化节奏的成果。这项研究创新性地采用随机多极驱动技术,在量子系统热化调控领域取得重要突破,为未来量子计算机的实用化奠定了基础。
实际上,着眼若从科研转向产业,我国量子科技领域科研的发展,在理论不断实现突破的同时,投融资开始快速转化成项目。这背后,则是市场认为量子计算技术正从实验室研发加速迈向产业应用的关键窗口期。
东方嘉富、君联资本、中科创星等机构“押宝”量子科技
“推动量子科技、生物制造、氢能和核聚变能、脑机接口、具身智能、第六代移动通信等成为新的经济增长点。”
在《中共中央关于制定国民经济和社会发展第十五个五年规划的建议》中,量子科技被正式列入未来产业布局的首位。这标志着量子科技已从前沿探索层面,全面升格为国家层面必须抢占的战略制高点。
从该领域的投融资热度中,也能一窥量子科技赛道的战略重要性。财联社创投通统计显示,仅2025年初截至2026年2月5日逾一年时间,量子科技(包括量子计算和量子计算机)赛道,融资金额达25.16亿元,融资事件数达25起。
其投融资热度不断攀升,投融资项目不断增多,投融资体量不断突破。
具体到资本层面,量子科技赛道的一级股权融资动作频频。国资资本、产业资本、创投机构,聚焦核心赛道与优质标的,形成协同布局格局。其中,东方嘉富、西湖投资、君联资本、中科创星、南山战新投成为最为聚焦该赛道的投资机构。

早在2016年时,东方嘉富就出资1.09亿元投资国盾量子。国盾量子于2020年7月登陆科创板后也成为我国量子科技领域第一家上市公司,被成为“量子科技领域第一股”。
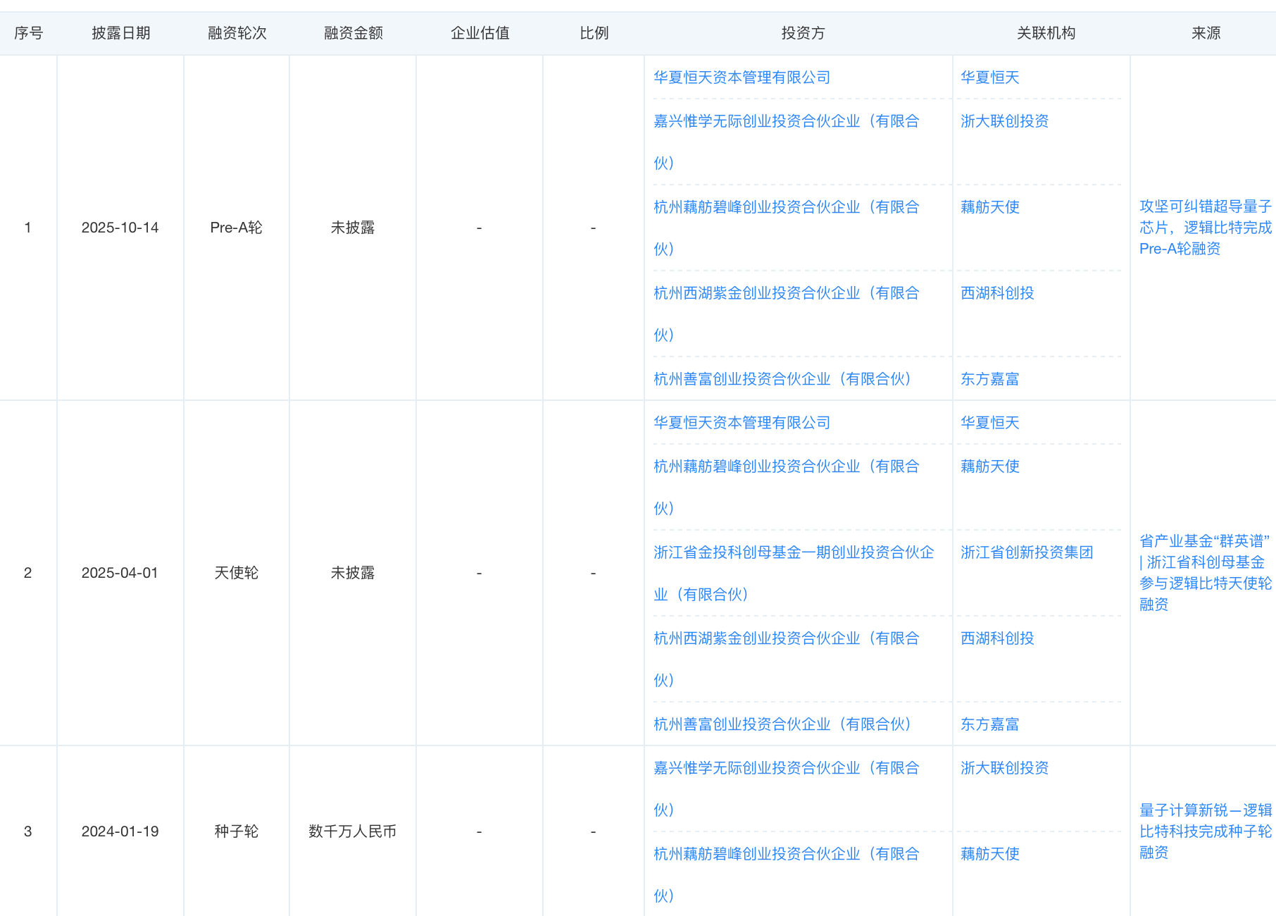
2025年4月,东方嘉富又领投逻辑比特数千万元的天使轮融资;浙江省科创母基金(一期)、华夏恒天、西湖科创投、藕舫天使等机构和个人共同参与。
据悉,逻辑比特科技是一支来自杭州的超导量子团队,在超导量子系统领域屡创世界纪录,手握量子芯片核心专利,其最新的芯片以100+量子比特的规模达到世界一流水平。
同样看好量子科技赛道的君联资本则“押宝”华翊量子。华翊量子于2025年7月宣布完成A轮融资,由京国瑞基金和君联资本联合投资。
华翊量子成立于2022年1月,是一家专注于离子阱量子计算技术路线的研发商。公司致力于开发量子计算云平台,提供量子计算机、量子元器件以及量子通信设备等产品,为行业用户提供全面的量子计算解决方案。
作为硬科技理念提出方的中科创星,则看好不筹量子。不筹量子于2025年12月宣布完成数千万元的天使轮融资,由中科创星领投,复容投资、东方富海共同参与。
不筹量子团队主要源自复旦大学中性原子量子计算实验室。创始团队在原子量子计算领域深耕多年,具备系统性的实验技术积累和持续的技术迭代能力,拥有在国内外量子计算赛道中极具竞争力的原创性优势。
作为聚焦硬科技领域的投资机构,中科创星早在2019年就首次参与国内量子计算龙头企业本源量子的天使轮融资。
中科创星之所以如此看好量子科技赛道,其创始合伙人、“硬科技”理念提出者米磊曾公开表示,“量子计算将是下一代算力,需要提前布局”。
2026年以来多起融资项目规模超亿元
从多起投融资事件的细分领域具体项目来看,目前量子科技赛道的投融资主要聚焦专用量子计算机研发加速、与AI/超算融合深化等方面;
其中,量子-经典混合计算基础设施成为投资重点;量子算法在分子模拟、药物设计领域潜力凸显,有望大幅缩短研发周期;政策与资本协同推动技术迭代,专用量子计算机研发加速。
具体到企业端,从2026年以来的投融资项目规模来看,量子科技赛道的投融资项目有着“数量增多、规模逐渐增大”的特点。截至目前,2月共3家企业分别获得3次融资,1月有6家企业获得共7次融资。

今年2月13日,前述文章提到逻辑比特宣布完成Pre-A+轮融资,由海望资本和陆石投资领投。
逻辑比特科技官方公众号显示,该公司于2022年6月在杭州成立,以实现超低错误率的“逻辑比特”为愿景,致力于研发规模化超导量子计算系统。公司核心成员出自浙江大学超导量子计算团队,团队起步于2010年,此后相继实现了10比特和20比特操控,两度创造超导量子系统全局纠缠比特数世界记录。
2021年,逻辑比特发布30比特“莫干1号”和“天目1号”立体封装量子芯片;2022年,进一步实现超过100比特的“天目2号”量子芯片,平均相干时间超过100微秒;形成了涵盖超导量子芯片设计、微纳加工、射频操控、量子计算和模拟全流程的深厚技术储备。
截至目前,逻辑比特已完成共4轮融资。其于2024年1月完成数千万元的种子轮融资,浙大联创投资、浙大校友基金藕舫天使以及个人投资人跟投。

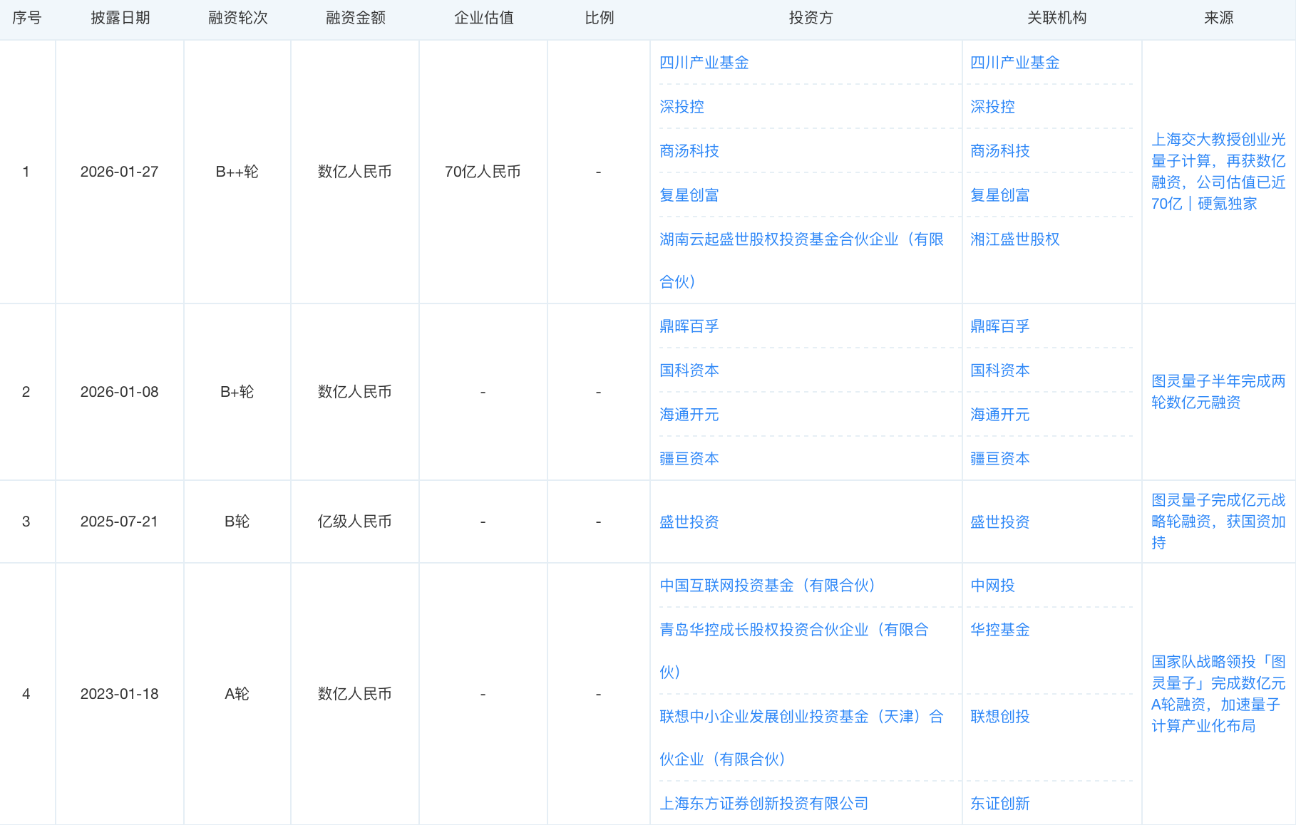
从融资规模来看,图灵量子在今年1月共完成2次规模为数亿元的融资,中间时间仅间隔10天左右。1月8日,图灵量子宣布完成近亿元天使轮融资,由联想之星领投,中科神光、前海基金、源来资本、小苗朗程跟投。同月的27日,图灵量子宣布完成数亿元B轮融资,由商汤科技、复星创富、深投控、川发引导基金领投。
截至目前,图灵量子已完成7轮融资。其最早于2021年5月完成近亿元的天使轮融资。其此后的每轮融资参投阵容均较强大。

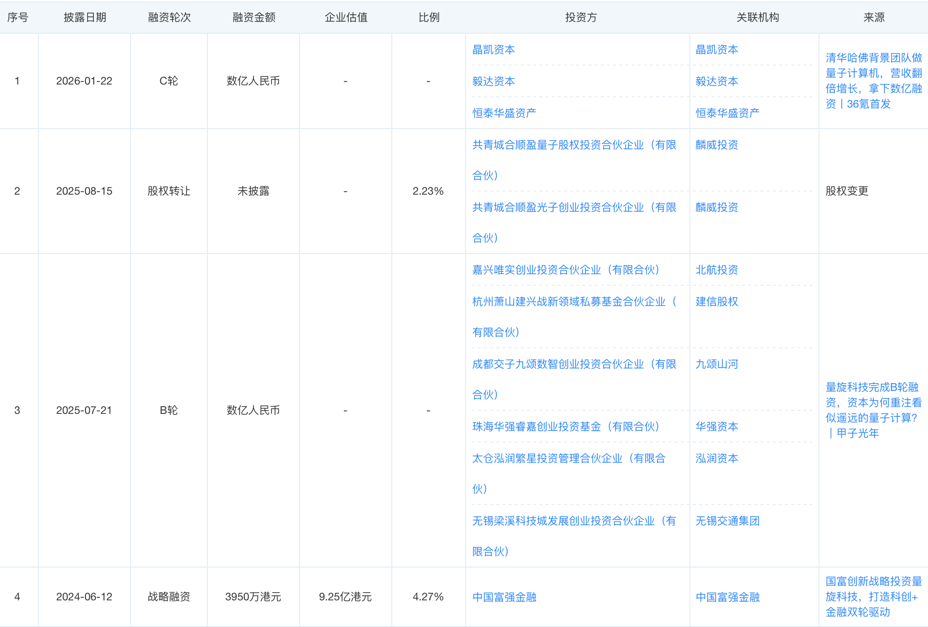
融资规模为数亿元的还有量旋科技。该公司于1月22日宣布完成数亿元C轮融资,投资机构来自隆利科技、毅达资本、晶凯资本、恒泰华盛等。这距离上次对外披露B+轮的数亿元融资仅过去不到半年。

成立于2018年的量旋科技,是国内较早布局超导量子计算机的企业。目前,量旋科技已拿下多个“第一”:推出全球第一台可编程桌面型量子计算机;成为中国第一家向海外出口超导量子芯片的公司;成功交付中国第一台出口海外的超导量子计算机整机。
融资规模超亿元的还有相干科技。2月9日,相干科技宣布完成超亿元Pre-A轮融资,由天际资本、普华资本领投,北创投、彼岸时代、盈富泰克、启赋资本、彬复资本等机构跟投,指数资本担任财务顾问。
相干科技成立于2023年,是一家专注于提供超导量子计算技术解决方案、量子计算服务的企业。相干科技创始人金贻荣博士是中国首批超导量子计算开拓者,现任北京量子信息科学研究院研究员,量子云平台生态建设团队负责人,曾参与筹建量子院并主导创建超导量子计算团队和实验室。

