①为何在港股市场整体回暖的背景下,腾讯控股的卖空压力能大幅缓解,而小米集团的卖空规模却仍维持相对高位,这两者背后的市场逻辑有何不同? ②南向资金持续大规模净流入与部分核心科技股的卖空数据急剧回落之间,是否存在显著的联动效应?

财联社3月17日讯(编辑 胡家荣)2026年3月以来,港股市场在经历前期深度调整后迎来震荡反弹。3月6日,恒生指数强势收涨1.72%,恒生科技指数表现更为亮眼,单日大涨3.15%,盘中最高涨幅一度触及3.77%。
此后市场情绪持续修复,3月16日恒生科技指数再度上扬2.69%,延续了近期的反弹势头。
在这场反弹中,资金回流与风险偏好回升成为核心驱动力。南向资金2月以来累计净流入达905.75亿港元,其中港股科技类ETF单周净流入高达132.59亿元,部分恒生科技ETF产品四个月内份额激增约6倍。然而,在市场整体回暖的背景下,科技龙头股的卖空数据却呈现出分化走势。
根据港交所披露数据显示,腾讯控股、小米集团、阿里巴巴及美团等核心科技股的卖空规模在3月中旬呈现不同程度的回落,但回落幅度与节奏存在显著差异。
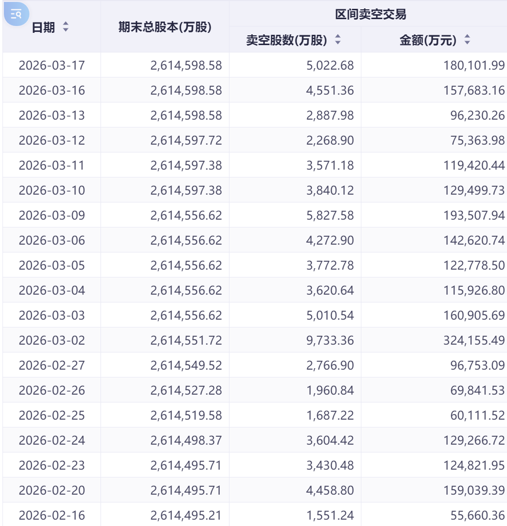
腾讯卖空股数从3月11日的877.92万股大幅降至3月17日的245.38万股,降幅逾七成;而小米、阿里巴巴的卖空数据虽有回落,但整体仍维持相对高位。
腾讯控股:卖空压力显著缓解
腾讯控股(00700.HK)的卖空数据在3月中旬呈现最为明显的回落态势。根据港交所披露数据,腾讯的卖空股数从3月11日的877.92万股大幅降至3月17日的245.38万股,期间降幅达72.05%。同期的卖空金额从49.48亿港元回落至13.69亿港元,降幅高达72.33%。


美团:卖空数据持续走低
美团(03690.HK)的卖空数据回落幅度相对较大。卖空股数从3月9日的2319.36万股降至3月17日的1157.02万股,降幅达50.11%,期间一度降至657.36万股。卖空金额从17.97亿港元降至9.36亿港元,降幅为47.91%,期间一度降至5.03亿港元。


小米集团:卖空规模仍处于高位
腾讯形成对比的是,小米集团-W(01810.HK)的卖空数据虽有所回落,但整体仍维持相对高位。
数据显示,小米的卖空股数从3月9日的5827.58万股降至3月17日的5022.68万股,期间降幅为13.81%。值得注意的是,期间卖空股数一度回落至2268.90万股的低点。

卖空金额方面,小米从19.35亿港元降至18.01亿港元,降幅仅为6.93%,期间一度降至7.54亿港元。整体来看,小米的卖空压力虽有所缓解,但回落幅度远不及腾讯,空头持仓仍具韧性。

阿里巴巴:温和回落格局
阿里巴巴-W(09988.HK)的卖空股数从3月10日的1815.08万股降至3月17日的1589.02万股,降幅为12.45%,期间一度降至988.05万股。卖空金额从24.07亿港元降至21.73亿港元,降幅为9.72%,期间一度降至13.22亿港元。


卖空数据分化背后的市场逻辑
腾讯领跌空单:估值修复预期增强
腾讯卖空数据的大幅回落,反映出市场对其估值修复的预期正在增强。从基本面来看,腾讯作为港股科技龙头,其游戏业务、广告业务及金融科技板块在2026年一季度展现出较强的韧性。叠加南向资金持续流入的支撑,空头资金选择在此时点撤离具有合理性。
此外,腾讯的卖空金额从近50亿港元的高位快速回落至13亿港元附近,表明此前累积的空头头寸正在集中平仓。这种集中平仓行为往往伴随着股价的短期反弹动力。
小米卖空韧性:估值博弈仍在持续
小米集团卖空数据回落幅度有限,反映出市场对其估值水平的分歧仍在持续。主要源于两方面:一是市场对其短期估值泡沫的修正需求,二是汽车业务投入带来的盈利不确定性。尽管卖空数据有所回落,但空头资金并未完全撤离,表明市场对小米的博弈仍在继续。
为何卖空数据频频受市场关注?
卖空数据是观测市场情绪的重要指标之一。当卖空规模快速回落时,通常意味着空头力量减弱,市场悲观情绪正在缓解。腾讯、美团的卖空数据大幅回落,可视为市场情绪回暖的积极信号。
震荡筑底阶段的配置思路
综合当前市场环境与卖空数据变化,机构指出,恒生科技指数大概率呈现震荡筑底、温和修复走势。核心支撑在于当前估值处于历史低分位,配置性价比凸显;主要压制因素则来自美联储降息节奏滞后及成分股业绩修复分化。
