①我国新一轮找矿突破战略行动取得新成果,四川冕宁、甘肃宕昌发现稀土、萤石、重晶石、锑等固体矿产。 ②“十四五”时期,我国新发现10个亿吨级油田、19个大型气田,关键矿产资源量大幅增长。 ③西藏超亿吨级铜矿、山东莱州西岭超大型金矿、四川雅江亚洲最大单体锂矿等世界级资源基地相继发现。
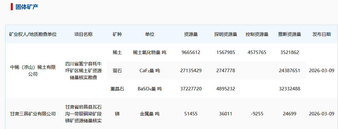
财联社3月18日讯,从自然资源部获悉,我国新一轮找矿突破战略行动再添新成果,四川冕宁、甘肃宕昌发现固体矿产,分别是稀土、萤石、重晶石、锑。

据了解,“十四五”时期,我国新一轮找矿突破战略行动交出亮眼成绩单:新发现10个亿吨级油田、19个大型气田,铀、铜、金、锂、钾盐等关键矿产资源量大幅增长,西藏超亿吨级铜矿、山东莱州西岭超大型金矿、四川雅江亚洲最大单体锂矿等一批世界级资源基地相继浮出水面。
