7月底才被曝出“假医门”的美年健康(002044.SZ),今年前三季度的业绩表现依旧亮眼,也再度获得资本看好,但在这背后是公司的激进扩张以及随之而来的高商誉、销售费用激增等问题。
【财联社】(研究员 朱洁琰)7月底才被曝出“假医门”的美年健康(002044.SZ),今年前三季度的业绩表现依旧亮眼,也再度获得资本看好,但在这背后是公司的激进扩张以及随之而来的高商誉、销售费用激增等问题。
10月29日,美年健康发布2018年三季报。报告显示,今年前三季度公司实现营业收入58.19亿元,同比增长43.04%;实现净利润4.14亿元,同比增长68.18%。
此外,近一个月以来,美年健康股价持续回暖,11月13日达到“假医门”以来的高峰17.11元/股。
“黑天鹅”之后 重获资本看好
今年7月30日,美年健康旗下广州美年富海门诊部的一位离职员工爆料称,其工作的体检中心聘用无证医师,甚至利用他人执业证书帮助无证人员上岗。尽管美年健康第一时间否认违规行为,但很快就惨遭广州市天河区卫生和计划生育局的“打脸”,8月5日的一份《责令整改通知书》证实,广州富海门诊部存在冒名医生发出检查报告、检查报告无医师手写签名、违规开展CT放射诊疗活动等三大违规行为。

“假医门”事件被曝当天,美年健康股价跌停,报19.53元/股。由于事件性质恶劣,一时间群情激愤,股价也持续走低。8月17日,美年健康股价已经较事发前一日回落近57%,跌至13.85元/股。
事情过去3月有余,“黑天鹅”影响淡化。10月23日,美年健康发布公告称,拟斥资3亿元至5亿元进行股份回购,将用于员工持股计划或股权激励计划。回购本身不会对公司的经营、财务和未来发展产生重大影响,但彰显了公司对当前经营状况和未来成长空间的信心。
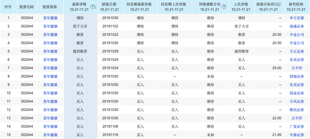
除了公司对自身股票价值高度认可,还有多家券商大力推荐。i问财数据显示,近一个月来,一共有15家券商给予美年健康“增持”“推荐”和“买入”评级,其中包括申万宏源、海通证券和中金公司等。券商研报的目标价维持在20.5元/股到25元/股,相较目前的股价仍有23%到50%的增长空间。

财联社查阅多家机构研报发现,券商观点可以归结为体检行业未来仍将高速发展,看好美年健康作为行业龙头的扩张复制性和规模化后的盈利能力。
然而,资本看好的扩张前景背后,仍有两重隐患。一是在过去的大举收购和扩张下,美年健康已经堆积大量商誉;二是随着经营规模的扩大,公司的销售费用随之激增,但研发投入却很少。
并购路上狂奔 商誉已超45亿
商誉是企业整体价值的组成部分。在企业发生合并行为时,购买企业的投资成本和被合并企业净资产公允价值的差额就是商誉。在公司的财务报表中计入资产负债表的资产项,并在对赌期结束之后进行减值测试,确认相应损失。
公开资料显示,美年健康成立于2006年,前身是上海天亿医疗发展有限公司,到2010年,体检分院只有23家,在千帆竞发的体检行业里还排不上号。2011年10月,它与当时市场排名第四的大健康科技健康管理有限公司合并,成立美年大健康。此后美年又接连并购了深圳瑞格尔、深圳鸿康杰、北京绿生源、武汉一博、常熟汉慈、贵州康源、安徽博瑞康等不同规模的体检机构,并在2014年收购行业老三慈铭体检,在2016年收购世界三大高端体检机构之一美兆体检,成为体检行业龙头企业。

美年健康在上述并购中产生巨额商誉。2016年至2018年上半年,公司商誉账面价值分别为7.10亿元、40.46亿元和45.50亿元,占净资产的比例为12.18%、58.61%和65.88%。
出于谨慎性原则,巨额商誉企业本身具有极大风险。因为商誉是从并购重组中产生,对赌期结束之后就会做商誉减值测试,巨额商誉带来的巨额减值很可能成为公司业绩的大地雷。
美年健康一路高歌猛进,除了产生巨额商誉,还导致销售费用激增。
重销售 轻研发
财联社查阅公司近3年的年报发现,2016年至2018年上半年,美年健康的销售费用分别为7.18亿元、14.88亿元和9.68亿元,占当期营业收入比例分别为23.30%、23.87%和20.60%。
另一边,美年健康在2016年至2018年上半年的研发费用仅为224.77万元、397.53万元和813.72万元,占当期营业收入比例分别为0.07%、0.06%和0.23%。虽然美年健康的研发投入正在递增,但是与销售费用相比便显得无足轻重,公司销售费用始终是同期研发费用的数百倍。
此外,Wind数据显示,截至2017年12月31日,美年健康的销售人员为8831人,而技术人员仅为246人。作为国内体检行业的龙头企业,技术人员的人数却连销售人员的三十分之一都不到。

天平的两端,一端是资本驱动的快速扩张,一端是安全第一的医疗服务。美年健康在获得资本看好的同时,更应该把握好天平的平衡。
